JavaScript を有効にしてご利用下さい.
※赤字は休業日です
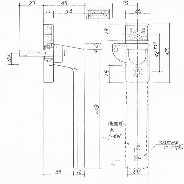
トステム > 装飾窓 > ハンドル > シルバー
現物表示
取付ネジピッチ
42mm
戸車径
代替部品
備考
ビスカバー付き
参考資料
BCP103R
使用商品名
販売期間
備考欄
開始年
廃止年
TBR70N
1984/1
1992/10
TBR100
1982/1
1993/3
RRO70
1991/10
2007/11
新商品(94)
メーカー同等品(43)
三協アルミ(2580)
トステム(2118)
サッシ(570)
雨戸(60)
シャッター(15)
装飾窓(309)
ストッパー(2)
ウイングオープン(1)
たて軸回転窓(1)
横すべり出し窓(1)
締り金具(1)
PRO-70 2(2)
框ドア(2)
竪辷り出し窓(1)
外倒し窓(1)
開き窓(7)
両縦すべり出し窓(1)
外付コーナーサッシ(2)
内開き窓(2)
縦すべり出し窓(22)
横辷り出し窓(33)
ガラスルーバー(48)
ダブルガラスルーバー(20)
ガラスルーバー用ガラス(10)
排煙窓(1)
オーニング窓(6)
テラスドア(19)
上げ下げ窓(51)
横軸回転窓(6)
内倒し窓(11)
フリクションアーム(21)
調整器(9)
ハンドル(37)
すべり出し窓(1)
グレー(2)
ブロンズ(10)
ブラック(4)
シルバー(19)
カムラッチハンドル受け(5)
カムラッチハンドル(27)
オペレーター装置(64)
出窓(6)
網戸(304)
玄関ドア(450)
玄関引戸(89)
勝手口(79)
浴室(93)
室内建具(35)
インプラス(1)
エクステリア(39)
フロンテック(141)
LifeAssist2(1)
面格子(1)
TOEX(19)
新日軽(1917)
YKK(1344)
不二サッシ(694)
立山アルミ(574)
日鐵サッシ(19)
中西産業(ナカニシ)(233)
中西金属工業(29)
シブタニ(75)
ヨコヅナ(64)
明治アルミ(101)
MIWA(356)
GOAL(68)
共栄ネット(43)
ニュースター(110)
キンマツ(90)
TYK(3)
増田産業(21)
フロンテア(48)
三和シャッター(144)
文化シャッター(40)
セキスイ(12)
日立ハウステック(73)
松下電工(102)
INAX(36)
TOTO(47)
ノーリツ(2)
リョービ(108)
エクセルシャノン(2)
AICA(2)
豊和(10)
その他(834)
ポスト(148)
排煙窓(85)
フランス落し(145)
シャッター錠(26)
ドアクローザー(377)
ガラスルーバー用ガラス(28)
シリンダー(322)
ホールキャップ(58)
パッキン(281)
モヘヤ(60)
ドアアイ(13)
ドアガード(95)
防湿鏡(48)
その他商品カテゴリー(96)